店铺SKU库存推送说明手册
主要使用场景说明
将仓库SKU当前可用库存,按照配置+规则推送至平台(Lazada、Tiktok、Shopee)店铺SKU库存
举例:
仓库SKU-A当前可用库存100个。已匹配海多客SKU-B。海多客SKU已匹配 Shopee平台的店铺SKU-C。
把仓库SKU-A的100个库存推送(更新)到店铺SKU-C上。
完整版操作步骤(步骤中如果已操作请继续往下走)
1)授权绑定店铺,打开订单同步
步骤:点击【店铺】点击【新增店铺】开始授权店铺,授权成功后,打开【订单同步】功能
打开【订单同步】功能需要在,【订单-订单设置-自动推仓】页面中创建推仓规则并【启用】规则。
2)进入【商品-在线商品库】页面,点击【同步平台商品】打开同步平台商品弹窗,勾选店铺,点击【同步】按钮
弹窗列表中仅展示已开启【订单同步】的店铺。如果开启后列表找不到,请刷新页面再试试。
3)在线商品库的店铺,全部同步成功后进入【商品-商品匹配】页面,将店铺SKU和海多客SKU进行匹配。
已匹配的海多客SKU必须已匹配仓库SKU,否则无法成功推送库存。
4)进入【商品-库存管理】页面,点击【未匹配】tab维护海多客SKU和仓库SKU的匹配关系。
在仓库维度下:海多客SKU 和 仓库SKU的匹配关系是1对1
5)创建库存推送规则,点击【商品-库存推送规则】页面,点击【创建规则】按钮打开表单提交弹窗。
6)以下是【创建规则弹窗】,点击【店铺】选择要要推送库存的店铺。点击【选择海多客SKU】选择海多客SKU(匹配关系完整的才能选择,否则无法找到)。选择供货仓库,设置推送必须和虚拟数量。最后点击【保存】按钮提交。
7)规则创建成功后,打开状态。定时任务每2h自动推送一次。
将仓库下的仓库SKU当前可用库存,按照配置+规则推送至平台(Lazada、Tiktok、Shopee)店铺SKU库存。
推送机制:
1. 站点+店铺+仓库+在线店铺SKU+已匹配海多客SKU+已匹配仓库SKU。
2. 站点+店铺+仓库A+仓库B+在线店铺SKU+已匹配海多客SKU+已匹配仓库SKU。
列表点击【更多】点击执行。支持单独触发推送
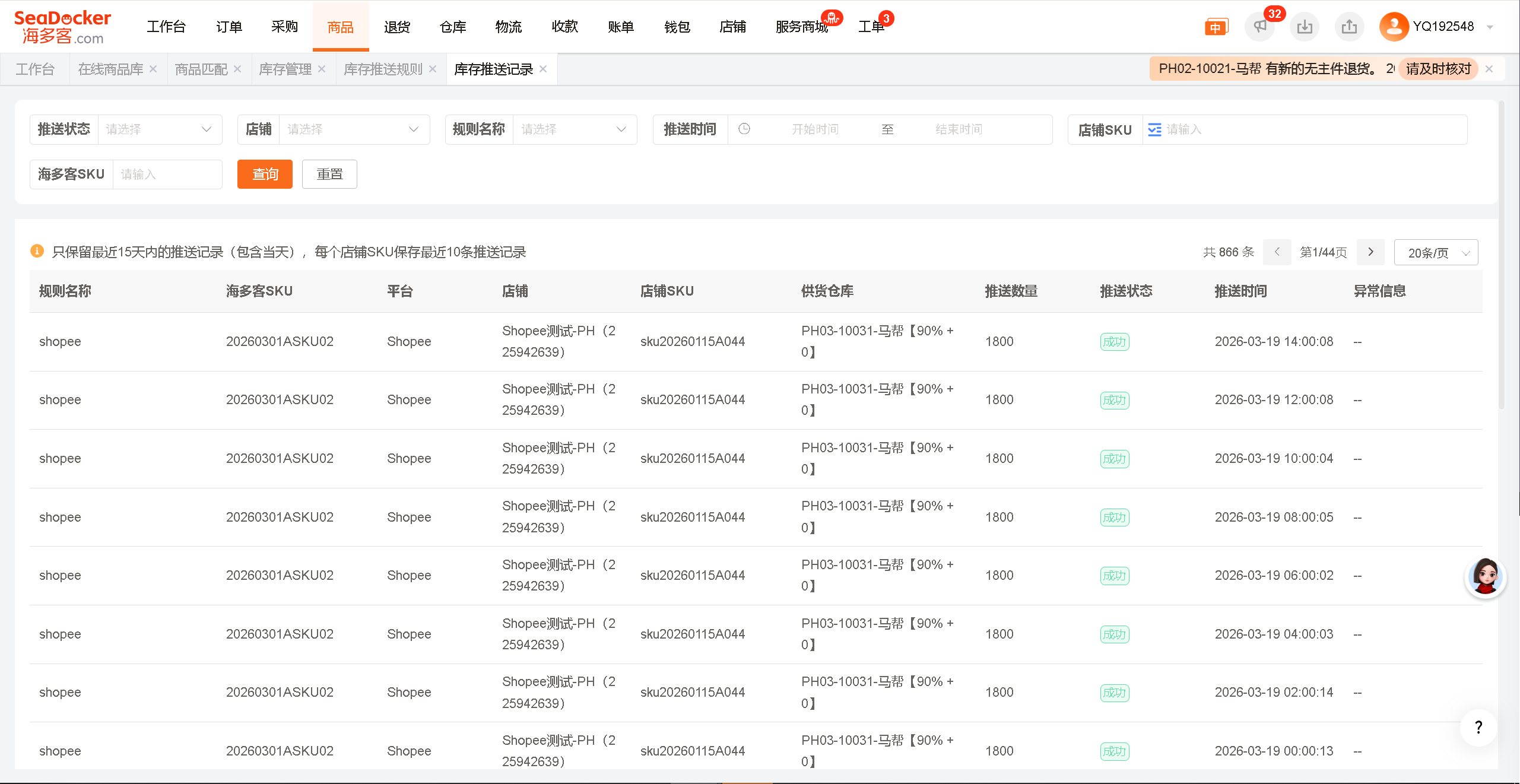
8)进入【商品-库存推送记录】页面,可用查看推送成功和失败的结果,可用查看推送详细数据。
9)遇到推送失败的,报错提示遇到【多个仓库*****】解决办法
点击【店铺】进入页面,勾选店铺,操作【刷新店铺仓库】。点击【确定】提交
刷新成功后等待1-3分钟,到【商品-库存推送规则】重新编辑【库存推送规则】,选择【店铺仓库】
如果看到不到店铺仓库,请刷新当前浏览器页面再操作选择。










无评论